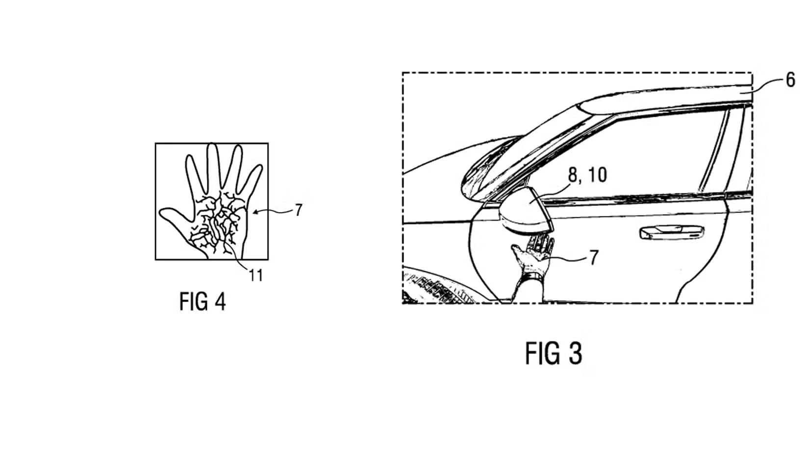
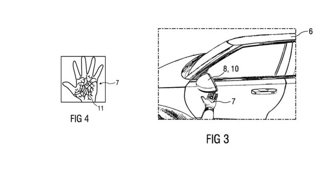
مرسدس بنز با ثبت اختراع جدید خود، قصد دارد فناوری اسکن کف دست را جایگزین کلیدهای سنتی کند. این سیستم با شناسایی رگهای دست، امنیت خودرو را تضمین میکند.
مرسدس بنز بار دیگر مرزهای تکنولوژی را جابجا کرد و با ثبت یک اختراع جنجالی، نشان داد که آینده امنیت خودرو در دستان راننده است؛ البته به معنای واقعی کلمه! طبق اسناد منتشر شده، این خودروساز آلمانی در حال توسعه سیستمی است که به رانندگان اجازه میدهد تنها با نشان دادن کف دست خود، قفل خودرو را باز کرده و موتور را روشن کنند.
جادوی مادون قرمز و پایان دردسرهای حسگر اثر انگشت
این فناوری نوین از دوربینهای مادون قرمز برای شناسایی الگوی منحصربهفرد رگهای خونی در اسکن کف دست استفاده میکند. برخلاف حسگرهای اثر انگشت که ممکن است با کثیفی یا رطوبت دچار خطا شوند، این سیستم با تابش نور مادون قرمز به زیر پوست، نقشهای دقیق و غیرقابل جعل از دست راننده تهیه میکند. سنسورهای این سیستم احتمالاً در ستون B خودرو یا زیر آینههای جانبی تعبیه خواهند شد تا راننده با یک حرکت ساده دست، مجوز ورود را دریافت کند.
سد محکم در برابر هکرها با تشخیص هوشمند علائم حیاتی
یکی از ویژگیهای برجسته این اختراع، قابلیت تشخیص بافت زنده است. مهندسان مرسدس سیستمی را طراحی کردهاند که با اندازهگیری الکتریسیته ساکن بدن، مطمئن میشود که دست مقابل سنسور متعلق به یک انسان زنده است. این یعنی سارقان نمیتوانند با استفاده از ماکت یا تصاویر باکیفیت، سیستم فناوری بیومتریک خودرو را فریب دهند. علاوه بر امنیت بالا، این سیستم مصرف انرژی بسیار پایینی دارد و تنها زمانی که حضور راننده را حس کند، فعال میشود. با این نوآوری، شاید بهزودی کلیدهای فیزیکی و حتی دیجیتالی به تاریخ بپیوندند.
گجت نیوز آخرین اخبار تکنولوژی، علم و خودرو 






