اپل پتنت قاب جدیدی را ثبت کرده که با آنتنهای پیشرفته قدرت ارتباط ماهواره ای آیفون را دوچندان میکند. این کیس حتی در نواحی دورافتاده سیگنال پایداری دارد.
اپل با ثبت یک پتنت جدید در حال بررسی ساخت قابهای ویژهای برای آیفون و آیپد است که با استفاده از آنتنهای تقویتشده اتصال به ماهوارهها را در مناطق دورافتاده بهبود میبخشند.
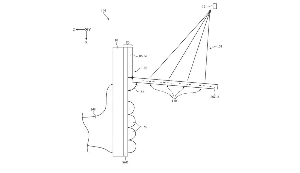
طبق اسنادی که بهتازگی فاش شده این غول فناوری در سال ۲۰۲۴ درخواست ثبت اختراع دستگاه الکترونیکی و کیس با قابلیتهای ارتباط ماهوارهای را ارائه داده است. این قاب برخلاف کیسهای معمولی دارای مجموعهای از آنتنهای آرایه فازی است که میتواند به گروهی از ماهوارهها متصل شود. نکته جالب در طراحی این قاب ماهواره ای آیفون وجود بخش متحرکی است که به سمت آسمان باز میشود تا بهترین سیگنال ممکن را دریافت کند.
ارتباط ماهواره ای آیفون بدون تداخل دست
طراحی خاص این محصول باعث میشود تا هنگام نگه داشتن گوشی دست کاربر مانع دریافت سیگنالهای ضعیف ماهوارهای نشود. کیس پیشنهادی اپل احتمالاً از طریق یک رابط فرکانس رادیویی یا فناوری NFC به دستگاه متصل شده و دادهها را منتقل میکند. این لوازم جانبی اپل علاوه بر آیفون برای آیپدها نیز طراحی شده است تا تبلتهای این شرکت هم به شبکه ماهوارهای مجهز شوند.
اگرچه ایده این قاب ماهواره ای آیفون بسیار کاربردی بهنظر میرسد اما باید به یاد داشت که اپل سالانه پتنتهای زیادی ثبت میکند که هرگز به مرحله تولید انبوه نمیرسند. در واقع این طرح فعلاً یک اثبات مفهوم است و تضمینی برای عرضه آن به عنوان یکی از لوازم جانبی اپل در آینده نزدیک وجود ندارد. با این حال تلاش اپل برای تقویت ارتباط ماهواره ای آیفون نشاندهنده اهمیت این فناوری در نقشه راه آینده این شرکت است.
گجت نیوز آخرین اخبار تکنولوژی، علم و خودرو 



