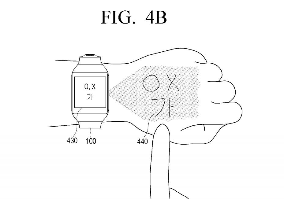
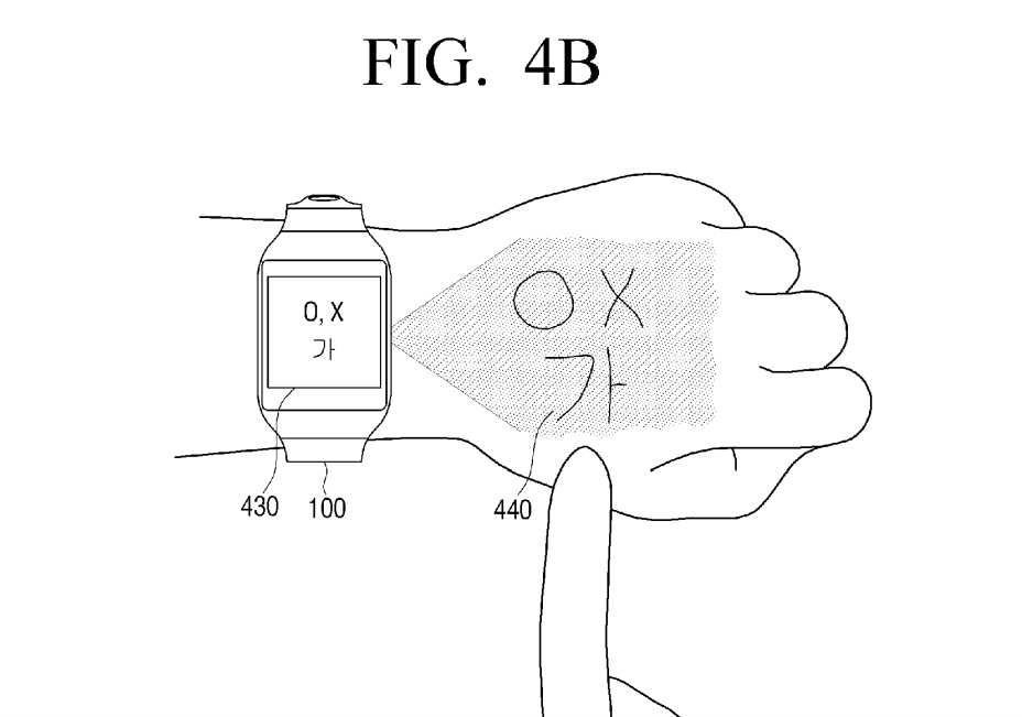
اخیرا توجه ما به پتنت جدیدی از سامسونگ جلب شده است که مربوط به ساعتهای هوشمند و گسترش رابط کاربری آنها میشود؛ مثل ساعت مامور 007. در لیست این پتنت سامسونگ ساعت هوشمندی را میبینیم که قادر به پردازش و شناسایی شکل اشیاء اطراف خود بوده و سپس رابط کاربری خود را مطابق با محیط بر روی دست نمایش میدهد.
بدین ترتیب علاوه بر دست و مچ کاربر، حتی اگر ساعت بر روی میز قرار گیرد، رابط کاربری آن بهخوبی بر روی سطح صاف نمایش داده میشود. در پتنت سامسونگ، کاربران میتوانند رابط ساعت را بر پشت دست، روی پنجه و مچ نمایش دهند و یا حتی دکمههای مجازی را بر روی هر یک از انگشتان خود تعریف کنند. در تصاویر منتشر شده به همراه این خبر، نحوه استفاده از صفحهکلید، بخش تماس و شمارهگیری، گشت و گذار در اپلیکیشنها و حتی موقعیتیابی GPS در چنین محصولی ترسیم شدهاند. تمامی این فعالیتها بر روی دست کاربران قابل اجرا هستند.
پتنت سامسونگ نیاز کاربران به ساعت، تلفن و دسکتاپ را پوشش میدهد
آیتمهای منو میتوانند بر روی درازای دست کاربران نمایش داده شود. در نهایت سنسورهای هوشمند دستگاه قادر هستند مکانی که کاربر بر روی منوی مجازی لمس میکند را تشخیص دهند. پتنت سامسونگ، کاربرد ساعتهای هوشمند آینده را به کارهای ساده بر روی دست کاربر محدود نمیکند. در این محصول تخیلی امکان نمایش یک دسکتاپ کامل و مجازی بر روی دیوار یا میز وجود دارد، آن هم با یک ساعت هوشمند کوچک! با این حال در پتنت درج شده است که چنین چیزی ممکن است بر روی گجتهایی که بر سر کاربران سوار میشوند، به کار گرفته شود. بهعنوانمثال هدستهای واقعیت مجازی یا هولولنزهای مایکروسافت.
اما حالا قبل از اینکه از خوشحالی بالا و پایین بپرید، ترسیم شدن محصولی در پتنتهای مختلف به معنای تولید آن در آینده نزدیک نیست؛ چنین محصولی حتی در مرحله طراحی قرار ندارد، چه برسد در مراحل تولید انبوه و عرضه. پتنتها بهمنظور محافظت از ایدههای ناب طراحان ثبت میشوند تا از خطر دزدی آنها جلوگیری شود. داشتن ایده ساخت یک محصول متفاوت و جدید به معنای توانایی در ساخت آن نیست. با این حال توجه شما را به این تصاویر خلاقانه و جذاب از پتنت سامسونگ جلب میکنیم:
گجت نیوز آخرین اخبار تکنولوژی، علم و خودرو 










