آنر پتنت گوشی چهار بار تاشو آنر را به ثبت رسانده است که طراحی آن همچون اوریگامی، چهار بار تا میشود. این ابتکار مهندسی، هدف ارائه نمایشگری بزرگ را در فرمی بسیار جمعوجور دنبال میکند.
این پتنت، پیچیدهترین فرم فاکتور تاشو است که تاکنون توسط یک برند بزرگ ثبت شده و نشاندهنده سرمایهگذاری آنر (Honor) در تحقیق و توسعه فناوریهای نوآورانه در حوزه فناوری تاشو است. در عصری که هواوی نیز به تازگی گوشیهای سه بار تاشو معرفی کرده، رقابت برای پیشروی در این عرصه به اوج خود رسیده است.
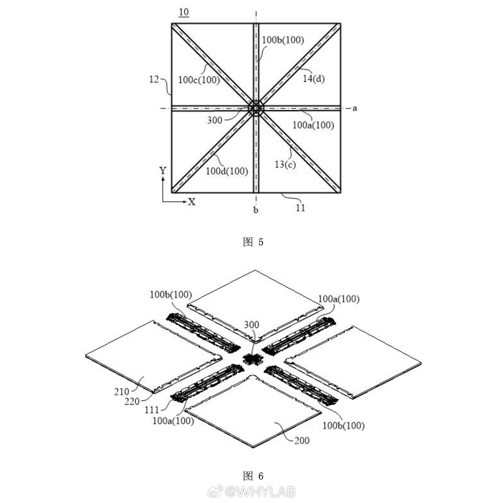
پیچیدگی بیسابقه طراحی گوشی چهار بار تاشو آنر
طراحی این گوشی چهار بار تاشو که از معماری اوریگامی الهام گرفته، نیازمند نقاط لولای متعدد در سراسر یک نمایشگر منعطف است. هر یک از این نقاط باید به دقت تنظیم شوند تا دستگاه بدون فرسودگی سریع یا آسیب دیدگی قابل مشاهده، کار کند. این میزان پیچیدگی مهندسی، فراتر از گوشیهای دو یا سه بار تاشو فعلی است و تحقق آن یک دستاورد بزرگ محسوب میشود.
از پتنت تا محصول نهایی: چرا این ثبت اختراع اهمیت دارد؟
شرکتها پیوسته پتنتهای متعددی را ثبت میکنند که بسیاری از آنها هرگز به محصول نهایی تبدیل نمیشوند. با این حال، ثبت پتنت توسط آنر (Honor) برای یک گوشی چهار بار تاشو آنر نشان میدهد که این شرکت فعالانه در حال تحقیق بر روی معماری نمایشگرهای چهار بار تاشو است. این اقدام نه تنها پژوهشهای آنر را عمومی میکند، بلکه فشارهای رقابتی در صنعت، بهویژه با توجه به عرضه دستگاههای سه بار تاشو توسط هواوی (Huawei)، را بازتاب میدهد. در صورت ساخت یک دستگاه چهار بار تاشوی کاربردی، میتوان انتظار صفحهنمایشی نزدیک به اندازه لپتاپهای کوچک را در فرمی قابل حمل و جیبی داشت، اما دوام، مدیریت خطوط تا و قیمتگذاری همچنان چالشهای بزرگی هستند.
گجت نیوز آخرین اخبار تکنولوژی، علم و خودرو 




این دیگه لول (سطح) جدیدی از شرکت چینی انر است. خیلی خفنه برای این نوع مفهوم جدید