جنرال موتورز در حال توسعه یک سیستم هشدار تصادف قریبالوقوع است که میتواند خطرات خارج از دید راننده را پیشبینی کند. این فناوری جدید با هدف افزایش ایمنی در خودروهای آینده این شرکت معرفی خواهد شد.
در دنیای پرشتاب فناوری خودرو، بهبود سیستمهای کمکراننده پیشرفته (ADAS) از اهمیت بالایی برخوردار است. شرکت بزرگ خودروسازی جنرال موتورز (General Motors) با ثبت پتنتی جدید، گامی مهم در ارتقای ایمنی خودرو برداشته است. این ابتکار نویدبخش کاهش چشمگیر حوادث رانندگی خواهد بود.
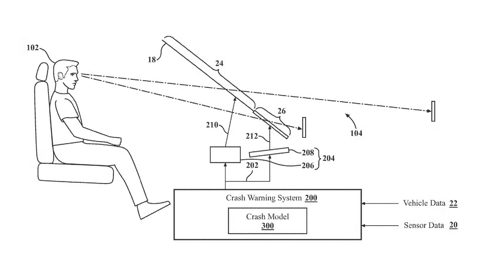
پتنت ثبت شده توسط جنرال موتورز در ۱۵ ژانویه، یک سیستم پیشرفته کمکراننده ایمنی (ADAS) را شرح میدهد. این فناوری قادر است خطرات بالقوهای را که از دید راننده پنهان هستند، شناسایی و حتی پیشبینی کند که آیا تصادفی قریبالوقوع با یک مانع ناشناخته یا وسیله نقلیه دیگر در راه است یا خیر. این سیستم میتواند در طیف وسیعی از محصولات جنرال موتورز، از شورولت بولت (Chevrolet Bolt) تا کادیلاک اسکالید (Cadillac Escalade) به کار گرفته شود.
سیستم هشدار تصادف قریبالوقوع جنرال موتورز چگونه کار میکند؟
این سیستم که با عنوان Non-Line-Of-Sight Imminent Crash Warning شناخته میشود، از ترکیب حسگرها و دوربینها برای تشخیص خطرات تا فاصله ۸۰۰ متری استفاده میکند. در واقع، رادار (Radar) و لایدار (LiDAR) با همکاری یکدیگر میتوانند موانع دور از میدان دید عادی راننده را شناسایی کنند. پس از شناسایی یک خطر بالقوه، سامانه به سرعت مسیر حرکت خودروی راننده و شیء مورد نظر را محاسبه میکند تا احتمال برخورد را تخمین بزند. همچنین، زمان باقیمانده تا برخورد احتمالی را بر اساس سرعت وسایل نقلیه و فاصله موجود تعیین میکند. این فناوری قادر است تشخیص دهد که آیا یک خودروی در حال حرکت از پشت یا کنار، برای سبقت گرفتن بیش از حد نزدیک است یا خیر. عملکرد این سیستم تا حدودی مشابه سامانههای تشخیص نقطه کور است.
هشدارها چگونه به راننده میرسند؟
در صورت قریبالوقوع بودن تصادف، راننده از طریق نمایشگر هدآپ (HUD) روی شیشه جلو یا یک چراغ هشدار چشمکزن روی صفحه ابزار، مطلع خواهد شد. جنرال موتورز (General Motors) یک سیستم هشدار دو قسمتی را پیشنهاد کرده است، زیرا بسیاری از خودروها فاقد هدآپ دیسپلی (Head-Up Display) هستند یا رانندگان ترجیح میدهند آن را خاموش کنند. برای اطلاعرسانی دقیقتر، دو نماد مختلف نمایش داده میشود: یکی با دو خودرو که نشاندهنده احتمال برخورد از کنار است و دیگری با یک خودرو که به معنی برخورد با یک مانع است.
یک فلش نیز جهت پیشبینی شده برخورد را نشان میدهد. نکته جالب توجه این است که برای خودروهای بدون HUD، این هشدارها میتوانند به ساعتهای هوشمند (smartwatch)، عینکهای هوشمند (smart glasses) یا حتی گوشیهای هوشمند (smartphones) و تبلتهای نصبشده روی داشبورد ارسال شوند.
تاثیر احتمالی بر ایمنی جادهها
پتنت جنرال موتورز (GM Global) اشاره میکند که این سیستم هشدار تصادف قریبالوقوع بیشترین کارایی را در شرایطی دارد که میدان دید راننده محدود است. این موارد شامل جادههای کوهستانی پرپیچوخم، رانندگی در شب و شرایط آبوهوایی نامساعد میشود. با وجود اینکه چنین سیستمی احتمالا با سایر سامانههای کمکراننده مانند دستیار حفظ مسیر و نظارت بر نقاط کور ادغام خواهد شد، پتنت جنرال موتورز تاکید دارد که این سیستم فقط به راننده در مورد خطر احتمالی و زمان واکنش هشدار میدهد و تصمیمگیری نهایی و اقدام برای جلوگیری از تصادف بر عهده راننده است.
- کاربرد دکمه کوچک روی کمربند ایمنی خودرو چیست؟
- دولت آمریکا ثابت کرد که به ایمنی خودروها بیشتر از ایمنی عابران پیاده اهمیت میدهد!
- ایمنی شاسی بلندهای برقی بیشتر است یا مدل های بنزینی؟
- تست تصادف تسلا سایبرتراک؛ دریافت بالاترین نشان ایمنی با یک شرط عجیب!
- جنرال موتورز از یک کانسپت برقی اسپرت رونمایی کرد؛ پیشنمایش نسل جدید شورولت بولت؟
این فناوری پتانسیل بالایی برای بهبود چشمگیر ایمنی جادهها و نجات جان انسانها دارد. پتنت جنرال موتورز (General Motors) نشان میدهد که ۲۷ درصد از کل تصادفات سالانه وسایل نقلیه ناشی از برخوردهایی است که خارج از دید راننده رخ میدهند. با توجه به گزارش سازمان ملی ایمنی ترافیک بزرگراهها (National Highway Traffic Safety Administration) که حاکی از مرگ حدود ۱۷,۱۴۰ نفر در تصادفات رانندگی ایالات متحده بین ژانویه تا ژوئن سال ۲۰۲۵ است، هر سیستمی که بتواند این آمار را کاهش دهد، یک مزیت بزرگ محسوب میشود.
گجت نیوز آخرین اخبار تکنولوژی، علم و خودرو 










