نیسان اختراع جدیدی را برای درب صندوق عقب شاسیبلند نیسان ثبت کرده است که میتواند انقلابی در نحوه باز شدن دربها در فضاهای تنگ ایجاد کند. این طراحی خلاقانه، مشکلات رایج پارکینگها و گاراژهای کوچک را حل میکند.
با وجود پیشرفتهای چشمگیر در صنعت خودروسازی، مکانیزم باز و بسته شدن دربهای صندوق عقب بهویژه در شاسیبلندها، همواره چالشهایی داشته است. این طراحیهای معمول اغلب در پارکینگهای تنگ با محدودیت فضا روبرو میشوند.
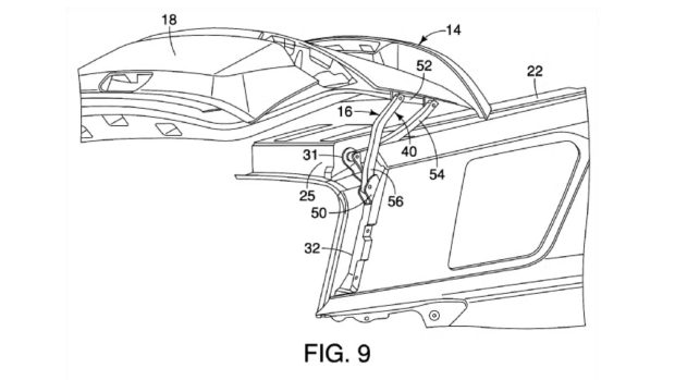
مکانیزم نوآورانه: درب صندوق عقبی که به سمت بالا و عقب میرود
شرکت نیسان اخیرا اختراع یک طراحی جدید و منحصربهفرد را در دفتر ثبت اختراعات و علائم تجاری ایالات متحده به ثبت رسانده است. این مکانیزم برای درب صندوق عقب شاسیبلند نیسان بر خلاف نمونههای رایج، از دو مجموعه بازو استفاده میکند که به شاسی و درب صندوق متصل شدهاند. طراحی بازوها بهگونهای است که درب ابتدا تقریبا بهصورت عمودی به بالا حرکت میکند. سپس، در حین بالا رفتن، به سمت سقف خودرو چرخش یافته و بیشتر قسمتهای آن روی سقف قرار میگیرد. این روش باز شدن، فضای جانبی کمتری نسبت به دربهای لولایی معمول نیاز دارد.
مزایا در پارکینگهای تنگ و بارگذاری آسان
یکی از اصلیترین مزایای این طراحی نوین، کارایی آن در فضاهای محدود است. اگر تا به حال نیاز به باز کردن درب صندوق عقب در گاراژهای بسته یا هنگام پارک دوبل در مکانی تنگ داشتهاید، این اختراع میتواند بسیار کاربردی باشد. درب صندوق عقب دیگر به شکل یک قوس پهن به سمت بیرون باز نمیشود که ممکن است توسط خودروهای دیگر یا دیوار گاراژ محدود شود. علاوه بر این، این مکانیزم باعث میشود تا درب صندوق کاملا از مسیر بارگیری خارج شده و کاربر بدون نیاز به خم شدن، بهراحتی اجسام بزرگ و حجیم را بارگیری کند.
چالشها و نگرانیها درباره طراحی جدید نیسان
با وجود مزایای برجسته، این طراحی جدید چالشهایی را نیز به همراه دارد که ممکن است مانع از تولید انبوه آن شود. مهمترین مسئله، نیاز به فضای خالی روی سقف خودرو برای قرار گرفتن درب صندوق است. این موضوع میتواند به شدت فضای موجود برای نصب باربندها (roof rack) و جعبههای سقفی را کاهش داده یا حتی حذف کند؛ قابلیتی که برای بسیاری از کاربران شاسیبلندها اهمیت زیادی دارد.
همچنین، در حالی که این طرح به لحاظ طولی به فضای کمتری نیاز دارد، بهنظر میرسد برای باز شدن کامل، به فضای عمودی بیشتری احتیاج داشته باشد. این در حالی است که برخی درهای صندوق عقب لولایی معمولی میتوانند در ارتفاعات محدودتر نیز همچنان کاربردی باشند. علاوه بر این، درهای صندوق عقب سنتی گاهی اوقات بهعنوان سایهبان موقت در هنگام کمپینگ یا پیکنیک استفاده میشوند که این قابلیت در طراحی جدید نیسان از بین میرود.
پیچیدگی بیشتر مکانیزم بازوها و اتصالات آن نسبت به لولاهای ساده و جکهای گازی رایج، به معنای افزایش هزینههای تولید و نگهداری است. همچنین، اطمینان از همراستا ماندن کامل پنل درب با بدنه در طول زمان، میتواند یک چالش فنی باشد.
- بهترین شاسی بلندهای سایز متوسط در سال 2026
- بهترین شاسی بلندهای کوچک جهان در سال 2026
- فراخوان نیسان روگ 2023 تا 2025 برای حل مشکل موتور
- نیسان آریا سولار، کراساوری که با نور خورشید شارژ میشود
- ون نیسان با چهرهای اسپرت؛ نسخه ویژه کاروان با الهام از GT‑R معرفی شد
لازم به ذکر است که ثبت اختراع، لزوما به معنای تولید و عرضه نهایی این فناوری در خودروهای آینده نیست و اغلب تنها بهمنظور حفاظت از مالکیت فکری انجام میشود.
گجت نیوز آخرین اخبار تکنولوژی، علم و خودرو 







آقا مردم با چه زبانی بگن مگه شما برای مردم خدمت نمیکنین مردم دیگه خسته شدن برین اندازه هفت جد آباد خودتان هم ازش بردین ده نفر ساندیس خور جمع میشه دورتان جوف زده میشین
برای ایران در حال حاضر کنترل تورم وگرانی سرسام اور واجب تر از همه چیزیه چون با معده خالی دیگه فکرت کارنمیکنه .فقط به فکر تهیه معیشت زندگی هستی .
آخه این پست برای من و تو نیست اونی که ماشین شاسی داره باید این پست رو بخونه
سلام بنظرم خیلی دیگه دارین خودتون تحقیر میکنین اینجوری هم که میگین مملکتمون اینقدر بد بخت نیستیم همون ماشینی که مدل روز هست هر چه تولید میشه میره برا اکثر کشورها که فقط ثروتمندان استفاده میکنم نه همه مردم دنیا کشور خودشون همه نمیتونن اکثریت سوار بشن فقط ثروتمندان دنیا میتونن بله مشکلات همه جا دنیا هست ایرانمونم هست موفق باشیم چرا هر که از کشورش. دفاع میکنه یاد گرفتین میگین جیره خور ..
ریدم تو مغزت
با فرمایش شما کاملا موافقم.
دقیقا درست
سلام بنظرم خیلی دیگه دارین خودتون تحقیر میکنین اینجوری هم که میگین مملکتمون اینقدر بد بخت نیستیم همون ماشینی که مدل روز هست هر چه تولید میشه میره برا اکثر کشورها که فقط ثروتمندان استفاده میکنم نه همه مردم دنیا کشور خودشون همه نمیتونن اکثریت سوار بشن فقط ثروتمندان دنیا میتونن بله مشکلات همه جا دنیا هست ایرانمونم هست موفق باشیم چرا هر که از کشورش. دفاع میکنه یاد گرفتین میگین جیره خور ..
خاک بر سر جیره خورت بره حتی بلد نیستی چطوری لیس بزنی
چقدر احمقی تو… برو خودرو های معمولی تو خیابون های ایران رو با بقیه کشور ها مقایسه کن بعد حرف بزن جیره خور…
داداش همیشه مرغ همسایه غازه. حرفت درسته
خاک تو سره دولت نامرد
ننگ بر این دولت مردم ستیز
بابا اینهادنبال هزینه سازی هستندکسکه این ماشین راسوارمی شود
جایش راهم داردمگرایران نیست شایدبرای کشورهای دیگرخوب باشد
ولی بدردایران نمی خوردجزهزینه درایندخاصیت دیگری ندارد
پسر دکتر حسابی تکنولوژی ای رو گسترش داده که زمان پایین بودن شیشه ماشین، صدا وارد کابین نشه. ما برای اختراع ایشون آنقدر هیاهو نکردیم . حالا اینا یه طراحی قدیمی رو دوبار ثبت اختراع کردن
ملت همیشه هود تحقیر هم دارن خودشون رو جر میدن
دولت ایران یارانه ما را قطع این چه عدالت است
فقط عکس خودروهای بروز جهانی نصیب ما می باشد مطمئن باشید یک سال قبل تر دبی عربها ازشون استفاده می کردند
این اختراع نیست چون قفل بعضی از چمدانها یا جعبه های قدیمی همینجوری باز میشه البته تو یه مکانیسم دیگه ای ولی همین مدلیه کارش
دقیقا همینه
حتما” این نوآوری و ابداع را از سایپا و ایران خودرو دزدیدن و کپی کردن
ترکیدم واقعا راست گفتی
ماها که فعلا باید تو فکرپول بررای شام شبمون باشیم دیگه وقت. برا اینکارها نداریم
نفله
دنبال شام شبت توی گجت نیوز چکار میکنی ! کسی که شام شب نداره بای بره حسینیه سینه بزنه
الحق که راست گفتی
چاخان نکن دیگرعزیز این یک دروغ بزرگ هست دم خروس باید
دیدیاقسم ناحق حضرت عباس را خدابسرمان می اوردناشکری کردن
توکه جواب کامنت گذاشتی مشکل شکم نداری مشکل شماعینک هست
دیدتان عوض کند جرت پرتهای می گوین بعضیهازمان قدیم خوب بود
بلانصبت گوزیادی می خورندمگراینکه درزیاسرگردنه گیربودن وگرانه
قدیم بهترین غذای که می خوردن وکلی خوش بودن آبدوخیاربود
کسیکه وضعش کمی بهتربودچهارتاداته کشمش هم می ریخت داخلش
برو اول تایپ کردن یاد بگیر بعد بیا اینجا داستان سرایی کن
آره دیگه واسه بعضی بدجوری نون و آب کرده طرف بابت چرت و پرتی که میپرونه مزایا میگیره دیگه نباید فلاکت و تنزل و فقر و ببینه
الله کمکم کنه والسلام
حاجی غلادتو کی وا کرده ، چخه پاچه نگیر ، چشاتو واکن جامعه رو ببین ، یه دور تو دیوار بزن ببین تعویض با غذا چه خبره
کاملا درست گفتی
اتوبوس هم همینجور درب بغلش باز میشه ازسال85
احسنت
بچه تهرون ببینم کجای تهرون میشینی
قیمت دلار طلا سکه نون آب جون ادماروداری
که از قبل و بعد صحبت میکنی
جتما گوشی موبایل هم جز وسایل رفاهی. برادر عزیز دنیا روز به روز در حال پیشرفته. کشت گندم و برنج مکانیزه شده. خیلی از غذاهای جدید ابداع شده شما چه مقایسه ای میکنی که قبلا آبدوغ میخوردیم. من یادمه بچه که بودم گوشت و پنیر را روزانه وسط روزنامه یا پاکت میخریدم. اقورنه جز غذاهای قدیمیه که یادش بخیر
دوست عزیز اون زمان تموم شد، علم پیشرفت کرد، کود شیمیایی و ماشین آلات کشاورزی اومد و کشاورزی صنعتی شد، دیگه هیچ کشوری که صاحب درست حسابی داشته باشه مردمش که کار میکنن دغدغه نون شب ندارن، استاندارد ها تغییر میکنن، با این طرز فکر شما بشر هیچ وقت پیشرفت نمیکنه